
- Який окучник до мотоблока від 6 к.с. підійде краще?
- Основні критерії вибору окучника до мотоблока
- Поглиблені особливості різних типів
- Дискові окучники
- Стрілчасті окучники
- Лемешеві окучники
- Розумне інвестування: не зламай банк
- Зачекайте, плуг не плуг!
- Як перевірити сумісність з мотоблоком?
- Чи можливо виготовити окучник самостійно?
Який окучник до мотоблока від 6 к.с. підійде краще?
Питання, який окучник до мотоблока від 6 к.с. обрати, мучить багатьох фермерів-початківців і навіть досвідчених городників. Ну, справді, це не так просто, як може здаватися на перший погляд. Вибір окучника — не просто справа механіки. Це також про практичність, зручність, та навіть долю вашого врожаю. То що ж варто знати, перш ніж витрати купу грошей?
Основні критерії вибору окучника до мотоблока

Якщо ти вважаєш, що всі окучники однакові, подумай ще раз. В тебе є різні типи, розміри, а саме головне — різні ціни. Важливо не втрапити в халепу з першим зустрічним товаром.
- Типи окучників: зустрічаються дискові, стрілчасті та лемешеві. Кожен з них має свої плюси й мінуси.
- Ширина захвату: від цього залежить, скільки часу ти витратиш на обробку.
- Матеріал виготовлення: якісний метал не підведе в найбурхливіші часи.
- Ціна: дешевше не завжди означає краще.
Поглиблені особливості різних типів
Давай розберемося детальніше в цих баштах металу:
Дискові окучники
- Вони круглі, як і їхня назва натякає. Легкі в налаштуванні, але можуть коштувати трохи більше.
- Ідеально підходять для важких ґрунтів.
- Регулювання глибини оранки — легко, як один два три.
Стрілчасті окучники
- Справжні машини для прокладання борозни. Витривалі й прості в обслуговуванні.
- Трохи важкі для новачків, адже вимагають навичок у керуванні.
Лемешеві окучники
- Це класика жанру. Виконують роботу швидко і без нарікань.
- Можуть не підійти для піщаних ґрунтів, великий ризик застрягти.
Розумне інвестування: не зламай банк
Ціни на окучники не мають бути небезпечно високими. Не дай маркетинговим хитрощам здивувати тебе. Освой тему від початку до кінця, почитай відгуки, і, можливо, навіть поговори з людьми на форумах. Іноді громадська думка — краще джерело правди, ніж будь-який каталог. Купуючи, звертай увагу на надійність бренду та гарантію.
Зачекайте, плуг не плуг!
Не плутати з плугом. Плуг і окучник — начебто схоже, але ні. Плужиш ціле поле, а окучуєш — окремі рядки. Зажди-ж, ти подумав, що це вигадка маркетологів? Чому ж це?
Можливо, варто згадати кілька конкретних моделей, які справді допомогли багатьом:
| Модель | Тип | Потужність | Ціна |
|---|---|---|---|
| Окучник ДВ-2020 | Дисковий | 6-9 к.с. | $150 |
| Окучник СТ-Л | Стрілчастий | 6-12 к.с. | $120 |
| Окучник ЛТ-1,5 | Лемешевий | 6-10 к.с. | $100 |
Як перевірити сумісність з мотоблоком?
Переконайся, що окучник підходить до твоєї моделі мотоблока. Просте правило: будь дуже уважний до технічної частини. Не знаєш що робити? Зв’яжись з виробником або дилером, вони не кусаються. Пам’ятай: це не викрутка, яку можна підібрати “на око”.
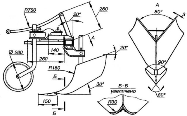
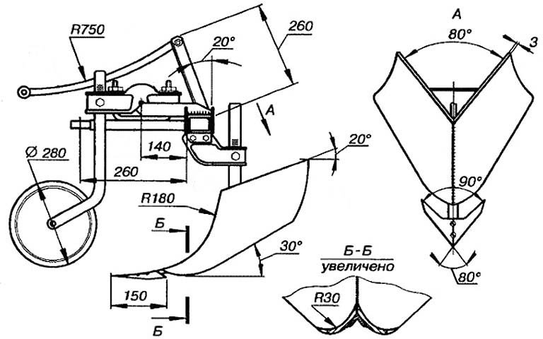
Чи можливо виготовити окучник самостійно?
А що, самостійність — наш коник. Тобі знадобляться креслення (можна знайти в інтернеті), інструменти і, звісно, матеріали. Важливо не лише втілити задум, а й перевірити — окремі вузли мають бути рівними і правильно сконструйованими. Якби це було так просто, окучники не продавали б у магазинах, чи не так?
Підводячи підсумок, обрання окучника — справа не з легких. Але, навчишся — і твій город завжди буде у відмінному стані. Обирай розумно, і нехай щастить на полях!







